INTRODUCCIÓN

El impacto que tiene la presencia de aberturas en la rigidez lateral de muros de cortante es un tema importante en el diseño sísmico de estructuras con base en muros que, sin embargo, ha recibido poca atención en tiempos recientes. Muchos de los métodos simplificados de análisis que existen y se siguen utilizando actualmente datan de los años cincuenta y sesenta, cuando se propusieron métodos que, por su simplicidad, se siguen empleando ampliamente. Por ejemplo, en 1952 Norman Green (Green 1952, MacLeod 2014) derivó formalmente las bases para substituir a un muro por una columna donde se tomen tanto las deformaciones por flexión como por cortante y, con ello, se pudieran utilizar métodos aproximados como el método del portal para analizar estructuras de varios niveles con base en muros. Esta gran idea evolucionó poco después en el método del marco equivalente, el cual lo extendieron y dieron validez formal, comparando sus resultados con el método del elemento finito, entre otros, Schwaighofer y Microys (1969). En México se conoce al método del marco equivalente como el “método de la columna ancha equivalente”, que aún hoy en día es el método más empleado para el análisis de estructuras con base en muros, principalmente en estructuras de mampostería confinada. En mucho menor proporción se emplea el método donde las vigas que conectan a los muros se substituyen por un medio continuo de cortante, cuya propuesta original parece ser de Hubert Beck (Beck 1962, MacLeod 2014) y que fue extendido de manera muy importante principalmente por Alexander Coull y sus colaboradores (Coull y Choudhury 1967a/b, Coull y Puri 1967, Coull y Subedi 1972). Tanto el método del marco equivalente como el de muros conectados por un medio continuo en cortante se propusieron inicialmente para dos muros de varios niveles acoplados por medio de una viga (Beck 1962, Soane 1966, Coull y Choudhury 1967a/b, Schwaighofer y Microys 1969, Pisanty y Traum 1970, Chaallal et al. 1996, Ha y Tan 1999, Tena 2007, MacLeod 2014), aunque casi de inmediato su aplicación se extendió y desarrolló para sistemas de varios muros acoplados por vigas (Coull y Puri 1967, Coull y Subedi 1972, Jaeger et al. 1973) o para estructuraciones mixtas de marcos con muros (Goyal y Sharma 1968, Nollet y Stafford 1993).

Se han propuesto otros métodos basados en el método del elemento finito que, por ello, no son del todo simplificados. Por ejemplo, Chan y Cheung (1979) proponen un método impráctico, por su complejo esquema de emplear elementos finitos de alto orden de interpolación de estado plano de esfuerzos (muy complejos) para modelar a los muros, junto con un medio continuo de cortante para modelar a las vigas, con el que no obtuvieron mejoras con respecto a los modelos estudiados antes analítica y experimentalmente por Coull y Puri (1967) y Coull y Subedi (1972). Tena-Colunga (1992 a/b) propuso el método de la viga condensada equivalente (Tena 2007), un método mixto donde se obtiene la matriz de rigidez lateral de muros que son idealizados como vigas condensadas equivalentes, a partir de utilizar el método de las flexibilidades junto con el método del elemento finito para discretizar a los muros con aberturas. Aunque el método es para fines prácticos exacto, dado que en esencia es una condensación estática realizada numéricamente de la discretización en elementos finitos de muros con aberturas, tiene el inconveniente que se requiere emplear primero forzosamente modelados de los muros con aberturas con elementos finitos. Kim y Lee (2003) dieron formalidad a un procedimiento que se venía usando, la de definir un superelemento finito que idealice a un muro con aberturas. La idea original parece haber sido propuesta en el programa Combat (Computech 1983), donde se define a un superelemento muro utilizando 12 elementos cuadriláteros con estado plano de esfuerzos y vigas rígidas en los extremos de las esquinas, de manera que se garantice la compatibilidad de deformaciones internas del elemento y que el superelemento muro, que se obtiene por subestructuración, tenga cuatro nudos con tres grados de libertad por nudo para fines de conectividad y compatibilidad con elementos tipo viga-columna. En el manual del programa Combat se informa al usuario que la posición de una abertura (o más aberturas) en el muro se puede modelar con cualquiera de los 12 cuadriláteros, dando un espesor cercano a cero. Kim y Lee (2003), además de formalizar técnicamente a este superelemento, demostraron con un importante número de ejemplos su gran eficiencia y exactitud para el análisis de estructuras con base en muros con aberturas con distintos patrones de las misma y distinto número de niveles.

Las aproximaciones obtenidas con los métodos simplificados se calibraron en ese entonces únicamente con los resultados de algunos cuantos muros de poca elevación y esencialmente con patrones de aberturas simétricos con respecto a un eje vertical, aunque de alguna manera existen calibraciones con algunas aberturas ubicadas asimétricamente con respecto al eje centroidal de un muro completamente sólido, sobre todo para el método de los muros conectados por un medio continuo de cortante (Coull y Choudhury 1967a/b, Coull y Puri 1967, Coull y Subedi 1972), que en adelante por simplicidad nombraremos como el método Beck-Coull, para honrar a quienes derivaron, propusieron y extendieron este método, y los métodos basados en elementos finitos (Tena-Colunga 1992a/b, Kim y Lee 2003).

Como se ha comentado en trabajos previos (Tena et al. 2011, Tena-Colunga y Rivera-Hernández 2015), aunque estamos en pleno siglo XXI, aun se requieren de métodos que sean relativamente simples de aplicar y que permitan obtener una aproximación razonable de la rigidez lateral de muros con aberturas, pues hacer diseños de estructuras con muros con modelos tridimensionales en elementos finitos utilizando mallas bien definidas y detalladas está aún fuera del alcance de los tiempos con que disponen los despachos de diseño estructural para ejecutar un proyecto integral. El contar con métodos relativamente simples para estimar razonablemente la rigidez lateral de muros con aberturas permitiría obtener estimaciones confiables de sus características dinámicas (periodos y modos), de los desplazamientos laterales, distorsiones de entrepiso y, a partir de ahí, obtener distribuciones relativas de fuerzas y esfuerzos con métodos simples que permitan concretar diseños estructurales adecuados, sin la imperiosa necesidad de requerir los resultados de análisis mucho más complejos con elementos finitos tridimensionales, aunque sea en modelos elásticos.

Por ello, y dando pasos en esta dirección, en un trabajo previo relativamente reciente (Tena et al. 2011) se hizo un estudio paramétrico de mayor alcance donde se reportan las aproximaciones obtenidas en la estimación de los desplazamientos laterales por métodos simplificados propuestos previamente en la literatura, entre ellos para varias variantes del método del marco equivalente y para el método Beck-Coull según la versión propuesta por Coull y Choudhury (1967b), así como un método propuesto por los autores y denominado como el método de la columna ancha equivalente de sección variable. Se estudiaron muros de entre tres y dieciocho niveles, con aberturas simétricas, asimétricas y con aberturas múltiples. En ese estudio no se consideró la rigidez de un ancho equivalente de losa, dado que tanto el método del marco equivalente, como el ahora nombrado método de Beck-Coull, fueron derivados analíticamente sin esa hipótesis y calibrados analítica y experimentalmente de esa manera (por ejemplo, Coull y Puri 1967, Schwaighofer y Microys 1969, Coull y Subedi 1972). De los resultados obtenidos en Tena et al. (2011), se concluyó y confirmó que los métodos de Beck-Coull, del marco equivalente y de la columna ancha equivalente de sección variable, son bastante confiables cuando se dispone de una sola franja de aberturas bien definidas en elevación (una por nivel) y los muros son: a) esbeltos (H/L≥4), b) simétricos o su parámetro de excentricidad es relativamente bajo (e≤20%) y, c) la abertura es razonablemente grande (18% o más del área vertical del muro). Todos los métodos pierden precisión cuando existen múltiples aberturas, sobre todo si su patrón es complejo a lo largo y a lo alto del muro, factor muy a considerar por los ingenieros de la práctica de México, que generalmente abusan del método del marco equivalente, sin suficiente conocimiento de su formulación y de sus calibraciones y, por ello, hacen extrapolaciones de modelado cuya validez jamás se han tomado la molestia de calibrar siquiera con métodos de análisis más rigurosos, como el método del elemento finito.

En este artículo se presentan los resultados más relevantes de un estudio paramétrico ligado al estudio anterior, y donde se evalúa el impacto de incluir la rigidez que aporta el sistema de piso en cada nivel a través de un patín con un ancho equivalente, conforme lo establecen recomendaciones reglamentarias para el caso de muros de mampostería, con una fila de aberturas bien definida en elevación y ubicadas tanto simétrica como asimétricamente. Se consideraron distintas rigideces tanto de los muros como de las losas de entrepiso. En este estudio se evalúan exclusivamente los resultados de los dos métodos más simples de emplear en la práctica profesional: el método del marco equivalente y el método de Beck-Coull. Los detalles del estudio se presentan en Liga (2017) y se describen, resumen y comentan en las siguientes secciones.

MÉTODOS APROXIMADOS EN EVALUACIÓN

Método del marco equivalente

En este estudio se evaluó el método del marco equivalente más empleado en el diseño de estructuras con base en muros en México. Las hipótesis generales de modelado son las siguientes (por ejemplo, Tena 2007):

1. Los ejes centroidales de las secciones transversales de los muros y de las vigas de conexión forman un marco equivalente.
2. Las características de la sección transversal de todas las columnas del marco equivalente son idénticas a las correspondientes de las secciones de los muros y, por ello, se consideran las secciones brutas de los muros.
3. Las porciones centrales de las vigas tienen las mismas propiedades de las vigas de conexión de la estructura del muro de cortante.
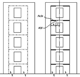
4. Las secciones extremas de las vigas no rotan teóricamente (tienen rigidez infinita a flexión), por lo que dichas zonas se discretizan como de rigidez infinita tanto a flexión como axialmente (figura 1).

Método de los muros conectados por un medio continuo de cortante (método Beck-Coull)

Como se comentó anteriormente, parece ser que Beck (1962) fue quien propuso originalmente el método donde dos hileras de muros simétricos acoplados por vigas peraltadas se discretizan por dos hileras de muros conectados por un medio continuo de cortante. Sin embargo, Alexander Coull y sus colaboradores son los responsables de extender la aplicación de este método considerando: a) dos hileras de muros con distinta rigidez (con aberturas asimétricas al eje centroidal del muro si fuera completamente sólido) y, b) más de dos hileras de muros. En este trabajo, por su versatilidad y sencillez, se empleó el método que presentaron Coull y Choudhury (1967b), donde se consideran dos hileras de muros, cuyas propiedades pueden ser distintas, y donde las vigas, dinteles o losas de entrepiso se reemplazan por un medio continuo equivalente (figura 2). Considerando la estructura de muros de cortante de la figura 2, las vigas de conexión individuales de rigidez EIp se reemplazan por un medio equivalente continuo o láminas de rigidez EIp/h por unidad de altura.

Draft Tena Colunga 693820016-image1.png
Figura 1. Marco equivalente propuesto por Schwaihofer y Microys (1969). En este estudio se considera que Ae'→∞ e Ie'→∞

Las aberturas se consideran ubicadas en franjas verticales bien definidas. Para el caso común de una sola franja de aberturas, Coull y Choudhury (1967b) proponen utilizar el parámetro es αH, donde:

Draft Tena Colunga 693820016-image2.png
(1)
Draft Tena Colunga 693820016-image3.png
(2)
Draft Tena Colunga 693820016-image4.png
(3)
Draft Tena Colunga 693820016-image5.png

Figura 2. Modelo de Coull y Choudhury

Cuando H>8, los muros tienden a comportarse como un muro simple en voladizo; en cambio, para H<4, el comportamiento es más parecido al de dos muros acoplados por una viga, por lo cual el comportamiento tipo marco equivalente con columnas anchas es más representativo.

Si se cuenta con una sola hilera de aberturas, el impacto de las aberturas en la rigidez lateral del muro se puede evaluar comparando los siguientes parámetros de rigidez:

Draft Tena Colunga 693820016-image6.png
(4)
Draft Tena Colunga 693820016-image7.png
(5)

donde Kw y Kwo son las rigideces laterales del muro sin o con aberturas, respectivamente, E es el módulo de elasticidad del muro, Iw es el momento de inercia del muro considerando que no tiene aberturas y:

Draft Tena Colunga 693820016-image8.png
(6)

El desplazamiento lateral máximo () en la parte superior del muro ante una carga lateral dada (P) se calcula con la ecuación:

Draft Tena Colunga 693820016-image9.png
(7)

En el método original de Coull y Choudhury (1967b) sólo se estima el desplazamiento máximo en la parte superior del muro, por lo que en un estudio previo (Tena et al. 2011) se evaluaron tres propuestas para obtener los desplazamientos laterales en cada piso, de donde se apreció que la aproximación más racional para estimar el desplazamiento lateral a cualquier altura x, (x), se obtiene modificando la ecuación 7 de la siguiente manera:

Draft Tena Colunga 693820016-image10.png
(8)



(1)

Artículo recibido el 28 de abril de 2017 y aceptado el 13 de junio de 2017

1 Universidad Autónoma Metropolitana, Departamento de Materiales, Av. San Pablo 180, Col. Reynosa Tamaulipas, 02200 Ciudad de México, e-mail: atc@correo.azc.uam.mx

(2)

2 Estudiante, Posgrado en Ingeniería Estructural, Universidad Autónoma Metropolitana, Av. San Pablo 180, Col. Reynosa Tamaulipas, 02200 Ciudad de México, e-mail: liga_c@hotmail.com

DESCRIPCIÓN GEOMÉTRICA DE LOS MUROS

Para describir de la mejor manera posible los muros estudiados, sobre todo los de varios niveles, se hacen las siguientes definiciones.

Parámetro de abertura, Failed to parse (MathML with SVG or PNG fallback (recommended for modern browsers and accessibility tools): Invalid response ("Math extension cannot connect to Restbase.") from server "https://mathoid.scipedia.com/localhost/v1/":): \lambda

Draft Tena Colunga 693820016-image11.png

Figura 3. Definición del parámetro

Se define como parámetro de abertura, , a la relación entre el área de la abertura y el área gruesa del muro, como se ilustra en la figura 3.

Así, se tiene que, expresado en porcentaje, el parámetro de abertura se calcula como:

Draft Tena Colunga 693820016-image12.png
(9)

Parámetro de excentricidad

El parámetro de excentricidad, e, se define como la relación entre la distancia desde el centroide del muro y el centroide de la abertura, y la distancia disponible para que la orilla de la abertura quede en la orilla del muro, como se ilustra en la figura 4.

Así, el parámetro de excentricidad, expresado en porcentaje, se calcula a partir de las definiciones hechas en las figuras 3 y 4 como:

Draft Tena Colunga 693820016-image13.png
(10)
Draft Tena Colunga 693820016-image14.png
Draft Tena Colunga 693820016-image15.png
Figura 4. Definición del parámetro de excentricidad, e

MUROS CON ABERTURAS EN ESTUDIO

Se estudiaron muros de tres a dieciocho niveles con una fila de aberturas típica para ventanas bien definida, como se muestra en la figura 5. De las dimensiones proporcionadas en la figura 5, se calcula que el parámetro de abertura es aproximadamente λ=18.4%. Se consideraron tres distintos casos en función del parámetro de excentricidad: a) modelos simétricos (e=0%, figura 5a), modelos con excentricidad e=40% (figura 5b) y, c) modelos con excentricidad e=82% (figura 5c). En todos los casos, el espesor del muro considerado es t=22 cm (figura 5d).

Draft Tena Colunga 693820016-image16.png

1) Muro simétrico

Draft Tena Colunga 693820016-image17.png

2) Muro con abertura excéntrica del 40%


Draft Tena Colunga 693820016-image18.png

c) Muro con abertura excéntrica del 82%

Draft Tena Colunga 693820016-image19.png

4) Vista lateral de muros con losa estudiados

Figura 5. Dimensiones (en metros) de los muros de una sola fila de aberturas en estudio

Las dimensiones de los muros (figura 5) coinciden con las empleadas previamente por Rivera (2006) y Tena et al. (2011). Dado que la altura de entrepiso típica es de 2.40m, y la longitud típica de cada muro es de 5.10m, por lo tanto, las relaciones de aspecto (altura total entre longitud, H/L) de los muros son H/L=1.41 para los muros de tres niveles, H/L=2.82 para los muros de seis niveles, H/L=4.24 para los muros de nueve niveles, H/L=5.65 para los muros de 12 niveles y H/L=8.48 para los muros de 18 niveles.

Se consideró un espesor de 12 cm para la losa de concreto y un ancho a cada lado de cuatro veces el espesor de la losa (4t), como se indica en las Normas Técnicas Complementarias de Estructuras de Mampostería (NTCM-04 2004) del Reglamento para las Construcciones del Distrito Federal Vigente. El patín equivalente de 8t se ubicó en los centros de ejes en los tres métodos estudiados (figura 5d).

Para todos los casos se consideraron tres calidades diferentes de piezas de mampostería de concreto, en función de su módulo de elasticidad, Em (Tabla 1). El muro tipo A corresponde a una mampostería de excelente calidad, representativa de las bloques de concreto que se comercializan en los Estados Unidos para construir mampostería reforzada (por ejemplo, Tena y Abrams 1989). El muro tipo B corresponde a una mampostería de buena calidad, con bloques de concreto que sí producen en el mercado mexicano las empresas con mayor tecnología y control de calidad. El muro tipo C corresponde a una mampostería más representativa de todo el mercado mexicano cuando se construye con control de calidad, pues la resistencia de diseño de los bloques de concreto es ligeramente superior al mínimo solicitado por las NTCM-04 (2004) para emplearse en la Ciudad de México.

Tabla 1. Propiedades elásticas de muros y losas consideradas en los análisis
Muro Tipo Em (ton/cm2) f*m (kg/cm2) Losa tipo Ec (ton/cm2)
A 84 400 Sin losa -
B 36 150 I 84
C 12 60 II 100
III 150
IV 200
V 250
VI 300

Se consideró además la ausencia y presencia del sistema de piso. Para ello, se estudiaron seis distintas rigideces de la losa de concreto reforzado en función de su módulo de elasticidad, Ec (Tabla 1). Las losas tipo I y II son representativas de losas que no son muy rígidas (semi-rigidas). Las losas tipo III y IV son representativas de losas coladas monolíticamente en estructuras de concreto reforzado convencionales en México. Las losas tipo V y VI son representativas de colados monolíticos en estructuras de concreto donde se emplea c> 300 kg/cm2.

Dado que se consideraron tres excentricidades de abertura distintas, seis alturas totales distintas, tres rigideces distintas de muros y siete rigideces del sistema se piso, el estudio paramétrico consideró un total de 378 modelos. Cabe señalar que como los análisis son de tipo elástico, los resultados son representativos para muros sólidos hechos con otros materiales (concreto reforzado, mampostería de arcilla, por ejemplo) que tengan propiedades de rigidez elástica (EI y GAc) similares o equivalentes a las aquí consideradas.

MODELOS CON ELEMENTOS FINITOS

Todos los modelos con elementos finitos empleados en este estudio fueron elaborados en el programa SAP2000 (CSI-2013 2013). Para verificar que los resultados de este trabajo son confiables, los primeros modelos se calibraron con los reportados en Tena et al. (2011). Se emplearon elementos tipo cascarón grueso (shell thick), elásticos, lineales, homogéneos e isotrópicos, y con módulo de Poisson de 0.15 en ambos materiales. En todos los análisis se aplicó una carga lateral total F=158.76 ton (350,000 lb) en la parte superior de los muros, la cual se distribuyó como se indica en la siguiente sección. En realidad, al tratarse de análisis elásticos para estimar amplificaciones relativas en los perfiles de desplazamientos, la magnitud de la carga lateral es irrelevante, pues en teoría debería ser una carga unitaria. Sin embargo, la magnitud se seleccionó para reducir la posibilidad de tener imprecisiones por errores por truncación numérica, que sería el caso que pudiera darse al emplear una carga muy pequeña y obtener a cambio desplazamientos exageradamente pequeños (no impresos en formato exponencial).

Discretización de la carga lateral

La carga lateral debe aplicarse uniformemente, por lo que se evaluaron cuatro diferentes configuraciones de aplicación sobre el muro de tres niveles cuando se considera la presencia del patín equivalente de losa:

  • en cada nodo ubicado a lo largo del muro
  • sobre cada nodo de la losa
  • en tres líneas de nodos a lo ancho de la losa, es decir, en extremos y centro del muro en su dimensión mayor (figura 6a).
  • en tres líneas de nodos a lo ancho de la losa, pero únicamente en extremos y centro del muro.

Con los cuatro distintos modelados se obtuvieron diferencias despreciables (cercanas al 0.3%, Liga 2017) en la determinación del desplazamiento lateral promedio de los muros en estudio, por lo que se optó por emplear la configuración mostrada en la figura 6a, pues es práctica y permite modelar de manera razonable la transmisión de la carga lateral a través de las losas.

Definición del tamaño del mallado

Para seleccionar el mallado mínimo necesario para discretizar a los muros con aberturas, se utilizó un criterio energético, donde se calculó la energía (E) asociada al trabajo externo (WE) desarrollado cuando se sujetan a los muros a una carga lateral uniformemente distribuida en el extremo superior para tres distintas mallas (figura 6a), que está dado por:

Draft Tena Colunga 693820016-image20.png
(11)

donde Fi es la magnitud de la fuerza lateral uniformemente distribuida en el nodo i, di es el desplazamiento lateral del nodo i y n es el número total de nodos donde se aplican las cargas laterales Fi.

Se estudiaron muros simétricos de tres diferentes alturas, considerando o ignorando a los sistemas de piso. Para los muros de tres niveles, se realizó una modelación sin losa, y se consideraron mallados de 164, 656 (figura 6b) y 2624 elementos tipo cascaron grueso para discretizar a cada muro con abertura por nivel, por lo que el total de elementos empleados fueron 492, 1968 y 7872 respectivamente. Los resultados se presentan en la figura 7, donde para facilidad de interpretación, se normaliza la energía (E) obtenida con cada modelo con respecto a la energía obtenida para la malla más fina (E2624). Se aprecia de la figura 7 que se obtiene más del 96% de la energía empleando 1968 elementos finitos (656 por cada muro en cada piso) que, de hecho, coincide con el mallado empleado en Tena et al. (2011).

Draft Tena Colunga 693820016-image21.png

1) Aplicación de carga utilizada

Draft Tena Colunga 693820016-image22.png

2) Muros sin losa

Draft Tena Colunga 693820016-image23.png

3) Muros con losa

Figura 6. Discretización de los muros de una sola fila de aberturas de tres niveles en el SAP-2000
Draft Tena Colunga 693820016-image24-c.jpeg
Figura 7. Energía normalizada con respecto a la malla de elementos finitos más fina considerada

Para los modelos de nueve y dieciocho niveles, se consideró la presencia de la losa, pero de igual manera se consideraron mallados de 164, 656 (figura 6c para el modelo de tres niveles) y 2624 elementos para discretizar a cada muro con abertura por nivel. El número de elementos finitos considerados para modelar al ancho equivalente de la losa fueron los necesarios para garantizar continuidad con los muros y que todos los elementos cascarón fueran los más cercanos a un cuadrado perfecto. Por ello, el total de elementos tipo cascarón grueso empleados en cada análisis fueron, respectivamente: a) 2196, 8728 y 34912 para los modelos de nueve niveles y, b) 4392, 17512 y 70048 para los modelos de 18 niveles. Las estimaciones de energías de estos análisis se presentan también de manera normalizada en la figura 7, donde se corrobora que con los mallados donde se emplean 656 elementos tipo cascarón por modelar a cada muro con aberturas en cada piso es suficiente para estabilizar a la energía de deformación, pues se obtiene más del 98% de la energía. Se aprecia también de la figura 7 que a medida que aumenta la altura (esbeltez) de los muros, se mejoran las aproximaciones utilizando mallas menos refinadas, dado que el impacto de las deformaciones por cortante es menor. Por ello, y con la finalidad de emplear un mismo mallado en todos los modelos, en este estudio se empleó un mallado de 656 elementos tipo cascarón por modelar a cada muro con aberturas en cada piso para todos los modelos entre tres y 18 niveles, que además coincide con el empleado en el estudio previo (Tena et al. 2011).

Calibración del ancho de losa equivalente

Se revisó que el ancho de losa equivalente seleccionado y que está propuesto en las NTCM-04 (2004) fuera representativo de la rigidez que aporta la losa en un análisis tridimensional. Para ello, se estudiaron dos modelos representativos de tres niveles (H/L=1.41) y nueve niveles (H/L=4.24) con muros cuyas aberturas se encuentran ubicadas simétricamente. Se seleccionaron a los muros de tres niveles pues, a-priori, se sabe que es donde mayores diferencias se presentan por el mayor impacto de las deformaciones por cortante en la rigidez de los modelos. Los muros de nueve niveles son representativos de una altura donde se esperan menores diferencias por el efecto de las deformaciones por cortante. Así, se compararon los perfiles de desplazamientos laterales de muros con aberturas simétricas de tres y nueve niveles con las de modelos tridimensionales de: a) dos muros unidos por una losa con un claro de 8 metros (figura 8a) y, b) tres muros unidos por losas, con claros de 4 y 8 metros (figuras 8c y 8d).

Draft Tena Colunga 693820016-image25.png

1) Modelo en 3D

Draft Tena Colunga 693820016-image26.png

2) Configuración de carga en planta

Draft Tena Colunga 693820016-image27.png

3) Claros de 4m

Draft Tena Colunga 693820016-image28.png

4) Claros de 8m

Figura 8. Modelos tridimensionales de nueve niveles con dos y tres muros

Como se aprecia en la figura 8, la losa se modeló también con elementos tipo cascarón grueso. Se consideraron tres tipos de mampostería con la losa más rígida para las dos alturas mencionadas, y la losa más flexible únicamente para la mampostería más rígida. Para los muros de tres niveles (H/L=1.41), se obtuvieron diferencias máximas de 1.8% para el muro más rígido con la losa más flexible y de 11.1% para el muro menos rígido con losa más rígida (figura 9a) cuando se comparan con los modelos tridimensionales de dos muros. Para los muros de nueve niveles (H/L=4.24), estos valores se redujeron a 0.1% y 3.3% respectivamente (figura 9b). Dado que las diferencias más grandes se encuentran para la combinación de mampostería más flexible con losa más rígida, los modelos tridimensionales que consideran tres muros se compararon únicamente para esta combinación, obteniéndose diferencias de 7.8% y 13.7% en los claros de 4 y 8 metros, respectivamente, para los modelos de tres niveles (figura 9a), mientras que para los modelos de nueve niveles se reducen a 2.3% y 4.1% (figura 9b). Los perfiles de desplazamientos obtenidos para la combinación de rigideces de muros y losas donde se observan las mayores diferencias se muestran en la figura 9. Se aprecia que, para fines prácticos, los desplazamientos obtenidos con los modelos simplificados en elementos finitos que consideran a los muros aislados con un ancho de losa equivalente son suficientemente representativos y que: a) los desplazamientos obtenidos considerando muros aislados con un ancho de losa efectivo son siempre mayores que los obtenidos con modelos tridimensionales (lo que, a-priori, se esperaba), b) a medida que aumenta la flexibilidad del muro disminuye la aproximación y, c) a medida que aumenta el número de niveles, aumenta el nivel de aproximación de los modelos más simplificados.

Draft Tena Colunga 693820016-image29-c.jpeg

1) 3 niveles

Draft Tena Colunga 693820016-image30-c.jpeg

2) 9 niveles

Figura 9. Comparación de perfiles de desplazamientos normalizados de modelos de muros simétricos con aberturas (λ=18.4%) con ancho de losa equivalente con los de dos y tres muros tridimensionales cuando Em=12ton/cm2 para los muros y Ec=300 ton/cm2 para las losas

Impacto de la rigidez de los muros y de la losa

En este estudio se evaluó el impacto de la rigidez de un ancho equivalente de losa en los perfiles de desplazamiento de muros con aberturas. Dado que los módulos de elasticidad y de cortante de los materiales que se emplean en muros normalmente difieren del empleado en la losa (Tabla 1), es importante valorar el impacto relativo que distintas combinaciones de módulos de elasticidad de los muros (Em, Tabla 1) y de las losas (Ec, Tabla 1) tienen en los perfiles de desplazamientos laterales promedio, a medida que aumenta la altura total (o esbeltez) de los muros, aún dentro del intervalo de comportamiento elástico. Por ello, y con fines ilustrativos, en la figura 10 se presentan las amplificaciones relativas de los perfiles de desplazamientos de los distintos modelos con aberturas simétricas entre los muros más flexibles y rígidos en estudio, cuando se considera o desprecia el ancho equivalente de losa. En la figura 10 se identifica como Em12 a los desplazamientos de los muros más flexibles en estudio (cuando Em=12 ton/cm2) y como Em84 a los desplazamientos de los muros más rígidos en estudio (cuando Em=84 ton/cm2). De igual manera, la rigidez relativa de la losa se identifica con base en su módulo de elasticidad, por lo que Ec84 identifica los resultados cuando Ec=84 ton/cm2 mientras que Ec300 cuando Ec=300 ton/cm2 (Tabla 1).

A-priori, se sabe que bajo la hipótesis de un comportamiento totalmente elástico, cuando los muros no disponen de losas y dado que Em y Gm guardan la misma proporción, entonces la amplificación relativa de los desplazamientos laterales está dada por el cociente inverso de los respectivos módulos de elasticidad, por lo que independientemente del número de niveles, ésta sería simplemente: Em12/Em84=84/12=7, que, como se aprecia en la figura 10, es la amplificación relativa reportada para los muros sin losa, y es la máxima amplificación que debería esperarse para todos los muros en estudio, como se confirma para los muros de tres, nueve y 18 niveles. Si se considera un ancho equivalente de losa, ésta aporta rigidez y por lo tanto, las amplificaciones relativas deben disminuir más a medida que la losa es más rígida (Ec mayor), lo cual también se confirma de los resultados presentados en la figura 10 para los muros de tres, seis y nueve niveles. También se observa que el impacto del ancho equivalente de losa en las amplificaciones relativas en los muros con aberturas es mucho más notorio para los muros de tres niveles (H/L=1.41, figura 10a) donde la máxima diferencia se presenta cuando Ec=300 ton/cm2 en el tercer nivel (92.5% de la amplificación relativa cuando no se considera losa), y que va disminuyendo conforme los muros tienen más niveles (o se hacen más esbeltos), reduciéndose la máxima diferencia al 97.2% en el nivel 2 cuando Ec=300 ton/cm2 para los modelos de nueve niveles (H/L=4.24, figura 10b) y al 98.4% en el nivel 1 cuando Ec=300 ton/cm2 para los modelos de 18 niveles (H/L=8.48, figura 10c). También se aprecia que a medida que aumenta el número de niveles (esbeltez), las diferencias pasan de crecer con altura en los muros de tres niveles (figura 10a), a disminuir con la altura para los muros de nueve (figura 10b) y 18 niveles (figura 10c).

Draft Tena Colunga 693820016-image31-c.jpeg
1) 3 niveles 2) 9 niveles 3) 18 niveles
Figura 10. Amplificaciones relativas de los perfiles de los desplazamientos de modelos de muros con aberturas (λ=18.4%) simétricas, con o sin ancho equivalente de losa, para los muros más flexibles (ΔEm12) con respecto a los muros más rígidos (ΔEm84)

Como se aprecia de los resultados mostrados en la figura 10, no existen diferencias realmente muy importantes en los resultados normalizados obtenidos para los muros más rígidos con respecto a los más flexibles, aun para los muros de tres niveles, por lo que en las siguientes secciones solamente se presentaron los resultados normalizados para los muros más rígidos (Em=84 ton/cm2), pues además de ser representativos de las otras dos rigideces consideradas (Tabla 1), para fines de diseño su rigidez elástica es más cercana a la rigidez que requerirían muros de alturas mayores a seis niveles para poder cumplir con las restricciones por desplazamientos laterales que solicitan los reglamentos de diseño sísmico.

Impacto de la excentricidad de la abertura

Se evaluó el impacto de la excentricidad de la abertura en los perfiles de desplazamientos laterales de los muros en estudio, considerando la presencia o ausencia de un ancho de losa equivalente. Se estudiaron muros con aberturas simétricas (e=0%), y con parámetro de excentricidad del 40% (e=40%) y 80% (e=80%). Los resultados obtenidos para los muros más rígidos (Em=84 ton/cm2) se presentan en las figuras 11 a 16 para los muros de tres a dieciocho niveles. Para facilitar las comparaciones, los perfiles de desplazamientos laterales promedio obtenidos con elementos finitos (FEM) se normalizaron con respecto al desplazamiento lateral promedio del último nivel de los muros simétricos (e=0%) sin la presencia de losa, que se identifican como FEM-SL-SIM en las figuras 11 a 16. De igual manera, la rigidez relativa de la losa se identifica con base en su módulo de elasticidad, por lo que Ec84 identifica los resultados cuando Ec=84 ton/cm2, mientras que Ec300 cuando Ec=300 ton/cm2 (Tabla 1).

De los resultados mostrados en la figura 11, se aprecia que para los modelos de tres niveles (H/L=1.41) con aberturas simétricas (e=0%), la presencia de la losa más rígida (Ec=300kg/cm2) reduce en poco más de 7% a los desplazamientos laterales promedio de los muros sin losa, mientras que la losa menos rígida (Ec=84kg/cm2) los reduce un poco más del 4%. En este caso, los desplazamientos laterales promedio máximos de los muros se reducen para aberturas asimétricas con respecto a las aberturas simétricas, entre 4.5% y 10% aproximadamente para una excentricidad de 40% y entre 19.6% y 20.7% para una excentricidad de 82%. En gran medida, esto se debe al impacto relativo de las deformaciones por cortante en estructuras con relaciones de esbeltez bajas.

Draft Tena Colunga 693820016-image32-c.jpeg
Figura 11. Perfiles normalizados de desplazamientos laterales promedio obtenidos con elementos finitos para los muros con aberturas (λ=18.4%) de tres niveles más rígidos (Em=84 ton/cm2), para aberturas simétricas y asimétricas, considerando o despreciando el ancho equivalente de losa
Draft Tena Colunga 693820016-image33-c.jpeg
Figura 12. Perfiles normalizados de desplazamientos laterales promedio obtenidos con elementos finitos para los muros con aberturas (λ=18.4%) de seis niveles más rígidos (Em=84 ton/cm2), para aberturas simétricas y asimétricas, considerando o despreciando el ancho equivalente de losa

De los resultados mostrados en la figura 12 para los muros de seis niveles (H/L=2.82), ya no se aprecian diferencias significativas entre los perfiles de desplazamientos laterales promedio cuando se considera o se desprecia la presencia del ancho equivalente de la losa. Sin embargo, a partir de esta altura se aprecia que los desplazamientos laterales promedio máximos de los muros aumentan para aberturas excéntricas con respecto a las aberturas simétricas, aumentando entre 1.5% y 3.7% aproximadamente para una excentricidad de 40% y entre 10.9% y 12% para una excentricidad de 82%. Esto se debe a que las deformaciones por cortante dejan de ser tan importantes.

Los perfiles de desplazamientos laterales promedio son prácticamente idénticos cuando se considera o desprecia la presencia de la losa a partir de nueve niveles (H/L=4.24 figura 13) y hasta 18 niveles (H/L=8.48, figura 16).

Draft Tena Colunga 693820016-image34-c.jpeg
Figura 13. Perfiles normalizados de desplazamientos laterales promedio obtenidos con elementos finitos para los muros con aberturas (λ=18.4%) de nueve niveles más rígidos (Em=84 ton/cm2), para aberturas simétricas y asimétricas, considerando o despreciando el ancho equivalente de losa
Draft Tena Colunga 693820016-image35-c.jpeg
Figura 14. Perfiles normalizados de desplazamientos laterales promedio obtenidos con elementos finitos para los muros con aberturas (λ=18.4%) de doce niveles más rígidos (Em=84 ton/cm2), para aberturas simétricas y asimétricas, considerando o despreciando el ancho equivalente de losa

Con respecto a la excentricidad de la abertura, los desplazamientos laterales promedio máximos de los muros siguen aumentando con respecto a los muros con aberturas simétricas a medida que aumenta el número de niveles (relación de esbeltez) de los muros. Así, para los muros de nueve niveles (H/L=4.24, figura 13), aumentan en un 7% cuando e=40% y en un 25.4% cuando e=82%. Para los muros de doce niveles (H/L=5.65, figura 14), crecen en un 8.4% cuando e=40% y en un 31.7% cuando e=82%. Para los muros de quince niveles (H/L=7.06, figura 15), los incrementos son de 9.2% cuando e=40% y de 35% cuando e=82%. Finalmente, para los muros de 18 niveles (H/L=8.48, figura 16), los aumentos son de 9.6% cuando e=40% y de 36.9% cuando e=82%

Draft Tena Colunga 693820016-image36-c.jpeg
Figura 15. Perfiles normalizados de desplazamientos laterales promedio obtenidos con elementos finitos para los muros con aberturas (λ=18.4%) de quince niveles más rígidos (Em=84 ton/cm2), para aberturas simétricas y asimétricas, considerando o despreciando el ancho equivalente de losa
Draft Tena Colunga 693820016-image37-c.jpeg
Figura 16. Perfiles normalizados de desplazamientos laterales promedio obtenidos con elementos finitos para los muros con aberturas (λ=18.4%) de dieciocho niveles más rígidos (Em=84 ton/cm2), para aberturas simétricas y asimétricas, considerando o despreciando el ancho equivalente de losa

Se puede concluir entonces que, a medida que los muros son más esbeltos (o tienen un mayor número de niveles), el aporte del ancho equivalente de losa considerado deja de ser importante en la magnitud de los desplazamientos laterales máximos. Sin embargo, a medida que los muros son más esbeltos, la excentricidad de la línea de aberturas comienza a ser más importante y amplifica los desplazamientos laterales promedio con respecto a los de muros simétricos. Sin embargo, dichas amplificaciones resultan menores del 10% para parámetros de excentricidad de la abertura de hasta el 40% para muros de hasta 18 niveles o relaciones globales de esbeltez H/L=8.48 para el parámetro de abertura considerado, que es =18.4%. Las amplificaciones si llegan a ser muy importantes para aberturas totalmente excéntricas (e=82%), siendo mayores al 25% a partir de relaciones globales de esbeltez H/L=4.24.

APROXIMACIONES OBTENIDAS CON MÉTODOS SIMPLIFICADOS

En secciones anteriores se describieron los métodos aproximados en evaluación, tanto el método del marco equivalente (o columna ancha equivalente), como el método de muros sólidos conectados por un medio continuo de cortante, que se ha rebautizado en este trabajo como el método de Beck-Coull. En ambos métodos se utilizan las propiedades de las secciones transversales sólidas de los muros en los cálculos, por lo que únicamente se fueron variando éstas para las evaluaciones. Por lo tanto, en estos métodos se discretiza a los muros con aberturas como si se trataran de dos muros acoplados por vigas muy peraltadas.

Para la consideración de las losas en ambos métodos, se calculó su inercia modelando a las losas como “vigas equivalentes”, según se ilustra en la figura 17, aplicando el principio de la sección transformada, dado que se tiene una parte de muro con módulo de elasticidad Em y otra parte correspondiente a la losa con módulo de elasticidad Ec. En la figura 17 se identifica la ubicación de la losa con el achurado. En el método de Beck-Coull, la carga lateral se incluye directamente en el valor de P (ecuación 8). En el caso del marco equivalente (MEQ), ésta se aplicó en los dos nodos del nivel de azotea.

Draft Tena Colunga 693820016-image38.png

1) Viga de entrepiso

Draft Tena Colunga 693820016-image39.png

2) Viga de azotea

Figura 17. Vigas de acoplamiento consideradas en los métodos simplificados

En las figuras 18 a 23 se comparan los perfiles de los desplazamientos laterales promedio de entrepiso calculados con los distintos métodos aproximados con respecto al método del elemento finito para los muros con aberturas simétricas y asimétricas. Con la finalidad de facilitar su comparación, para cada modelo en estudio (número de niveles, excentricidad de abertura en estudio) los desplazamientos laterales () se normalizaron con respecto al desplazamiento de azotea obtenido con el método del elemento finito para cada modelo cuando no se considera la presencia de la losa y para la excentricidad de abertura en estudio. Por lo tanto, en las figuras 18 a 23, FEM-SL-e=0% es el desplazamiento lateral promedio de azotea obtenido con elementos finitos para los modelos donde no se considera la presencia de la losa y la abertura es simétrica, mientras que FEM-SL-e=40% es el correspondiente a ese mismo modelado cuando la excentricidad de la abertura es del 40% y, consiguientemente, FEM-SL-e=82% es cuando la excentricidad es del 82%. Para mejorar la visibilidad de las gráficas, sólo se presentan los perfiles obtenidos cuando no se considera la rigidez de la losa (“sin losa”) y cuando se considera la losa más rígida (Ec300). Así, en cada subgráfica se presenta el perfil normalizado obtenido con el método del elemento finito bajo la leyenda FEM, mientas que los resultados obtenidos con el método del marco equivalente (o columna ancha equivalente) se identifican con la leyenda MEQ, mientras que los obtenidos con el método renombrado como Beck-Coull se identifica con la leyenda B-C.

Se aprecia en la figura 18 que, para los modelos de tres niveles (H/L=1.41), las aproximaciones obtenidas con el método del marco equivalente (MEQ) son pobres aún para muros con aberturas simétricas, del orden del 66% de las obtenidas con el método del elemento finito. La aproximación disminuye a medida que la abertura se vuelve más excéntrica, reduciéndose al 63% cuando la excentricidad de la abertura es del 40% y a tan sólo 52% cuando e=82%. Con el método Beck-Coull (B-C), las menores aproximaciones se obtienen para aberturas simétricas (tan sólo 51.3%), mejorando a 55.3% cuando e=40% y a 68.3% cuando e=82%.

Draft Tena Colunga 693820016-image40-c.jpeg
Figura 18. Comparación de los perfiles de desplazamientos laterales promedio de entrepiso obtenidos con los métodos aproximados en estudio normalizados con respecto al método del elemento finito para los muros con aberturas (λ=18.4%) de tres niveles más rígidos (Em=84 ton/cm2), para aberturas simétricas y asimétricas, considerando o despreciando el ancho equivalente de losa

En la figura 19 se aprecia que las aproximaciones obtenidas con los métodos en estudio mejoran notablemente para los modelos de seis niveles (H/L=2.82). Así, las aproximaciones obtenidas con el método del marco equivalente (MEQ) para aberturas simétricas son del 92% de las obtenidas con el método del elemento finito (FEM). Sin embargo, con la versión del MEQ en estudio, la aproximación disminuye notablemente a medida que la abertura se vuelve más excéntrica, reduciéndose al 80.4% cuando la excentricidad de la abertura es del 40% y a tan sólo 47.9% cuando e=82%. Con el método Beck-Coull (B-C), las menores aproximaciones se obtienen para aberturas simétricas (75.2%), y en completo contraste con el MEQ, las aproximaciones mejoran conforme la abertura es más excéntrica, aumentando a 78.7% cuando e=40% y a 89% cuando e=82%.

Draft Tena Colunga 693820016-image41-c.jpeg
Figura 19. Comparación de los perfiles de desplazamientos laterales promedio de entrepiso obtenidos con los métodos aproximados en estudio normalizados con respecto al método del elemento finito para los muros con aberturas (λ=18.4%) de seis niveles más rígidos (Em=84 ton/cm2), para aberturas simétricas y asimétricas, considerando o despreciando el ancho equivalente de losa
Draft Tena Colunga 693820016-image42-c.jpeg
Figura 20. Comparación de los perfiles de desplazamientos laterales promedio de entrepiso obtenidos con los métodos aproximados en estudio normalizados con respecto al método del elemento finito para los muros con aberturas (λ=18.4%) de nueve niveles más rígidos (Em=84 ton/cm2), para aberturas simétricas y asimétricas, considerando o despreciando el ancho equivalente de losa
Draft Tena Colunga 693820016-image43-c.jpeg
Figura 21. Comparación de los perfiles de desplazamientos laterales promedio de entrepiso obtenidos con los métodos aproximados en estudio normalizados con respecto al método del elemento finito para los muros con aberturas (λ=18.4%) de doce niveles más rígidos (Em=84 ton/cm2), para aberturas simétricas y asimétricas, considerando o despreciando el ancho equivalente de losa

Se confirma de la observación de los resultados mostrados en las figuras 20 a 23 que, en general, las aproximaciones obtenidas con los métodos simplificados en estudio mejoran a medida que aumenta el número de niveles (o su relación de esbeltez) cuando las aberturas son simétricas (e=0%); sin embargo, las tendencias observadas son distintas. Por ejemplo, se aprecia que para muros simétricos, con el método del marco equivalente (MEQ) se comienzan a sobrestimar los desplazamientos laterales promedio con respecto al MEF cuando e=0%. En este tenor, los desplazamientos obtenidos con el MEQ cuando e=0% son 4.6% mayores a los obtenidos con el MEF para los modelos de nueve niveles (H/L=4.24, figura 20), 10.4% mayores para los modelos de doce niveles (H/L=5.65, figura 21), 13.3% mayores para quince niveles (H/L=7.06, figura 22) y 14.9% mayores para dieciocho niveles (H/L=8.48, figura 23). En cambio, las aproximaciones obtenidas con el método de Beck-Coull (B-C) aumentan conforme aumenta la altura. Así, las aproximaciones obtenidas con B-C aumentan al 86.4% para nueve niveles (H/L=4.24, figura 20), 91.7% para doce niveles (H/L=5.65, figura 21), 94.6% para quince niveles (H/L=7.06, figura 22) y 96.2% para dieciocho niveles (H/L=8.48, figura 23).

Draft Tena Colunga 693820016-image44-c.jpeg
Figura 22. Comparación de los perfiles de desplazamientos laterales promedio de entrepiso obtenidos con los métodos aproximados en estudio normalizados con respecto al método del elemento finito para los muros con aberturas (λ=18.4%) de quince niveles más rígidos (Em=84 ton/cm2), para aberturas simétricas y asimétricas, considerando o despreciando el ancho equivalente de losa
Draft Tena Colunga 693820016-image45-c.jpeg
Figura 23. Comparación de los perfiles de desplazamientos laterales promedio de entrepiso obtenidos con los métodos aproximados en estudio normalizados con respecto al método del elemento finito para los muros con aberturas (λ=18.4%) de dieciocho niveles más rígidos (Em=84 ton/cm2), para aberturas simétricas y asimétricas, considerando o despreciando el ancho equivalente de losa

Se confirma también de la observación de las figuras 20 a 23 que cuando se utiliza el método del marco equivalente que modela a la longitud del nudo muro-viga como zonas de rigidez infinita, la aproximación disminuye notablemente a medida que la excentricidad de la abertura es mayor al 40%. De esta manera, las aproximaciones obtenidas con el MEQ se reducen al 88.2% cuando e=40% y al 47.4% cuando e=82% para nueve niveles (H/L=4.24, figura 20), al 91.6% cuando e=40% y al 47.3% cuando e=82% para doce niveles (H/L=5.65, figura 21), 93.3% cuando e=40% y al 47.1% cuando e=82% para quince niveles (H/L=7.06, figura 22) y 94.2% cuando e=40% y al 46.9% cuando e=82% para dieciocho niveles (H/L=8.48, figura 23).

Finalmente, se confirma del análisis de los resultados mostrados en las figuras 20 a 23 que con el método Beck-Coull (B-C), las menores aproximaciones se obtienen para aberturas simétricas, y que en completo contraste con lo que se observa para el método del marco equivalente, las aproximaciones mejoran conforme aumenta la esbeltez del muro y conforme la abertura es más excéntrica. Así, las aproximaciones obtenidas con el método B-C aumentan al 88.8% cuando e=40% y al 95.9% cuando e=82% para nueve niveles (H/L=4.24, figura 20), al 93.4% cuando e=40% y al 98.8% cuando e=82% para doce niveles (H/L=5.65, figura 21), 95.9% cuando e=40% y al 100% cuando e=82% para quince niveles (H/L=7.06, figura 22) y 97.3% cuando e=40% y al 99.8% cuando e=82% para dieciocho niveles (H/L=8.48, figura 23).

COMENTARIOS FINALES

Se presentó un estudio donde se compararon las aproximaciones obtenidas con dos métodos simplificados propuestos en la literatura para estimar la rigidez lateral elástica de muros con aberturas con los resultados obtenidos con el método del elemento finito para modelaciones hechas con mallados razonablemente finos. Se estudiaron muros de varios niveles, con distribuciones simétricas y asimétricas de aberturas con respecto a un eje vertical. Se consideró la aportación de la rigidez de losa en cada nivel a través de un ancho equivalente conforme lo establecen las recomendaciones de las Normas Técnicas Complementarias de Estructuras de Mampostería vigentes en la Ciudad de México y su zona conurbada. Se consideraron distintas rigideces tanto de los muros como de las losas de entrepiso. De los resultados obtenidos empleando tanto el método del elemento finito como los métodos simplificados en estudio, se pueden hacer las siguientes conclusiones, que son sólo 100% válidas para muros con una sola franja de aberturas y parámetro de abertura =18.4%, aunque con base en los resultados de un estudio previo (Tena et al. 2011), serían también válidas hasta =25%:

  • Cuando se modela un ancho equivalente de losa, se aumenta la rigidez de los muros con aberturas y, por tanto, los desplazamientos laterales promedio son menores que cuando no se considera la rigidez de la losa. Los desplazamientos laterales promedio se reducen más a medida que la losa es más rígida.
  • Para los intervalos de rigideces consideradas en este estudio para los muros y las losas, el impacto de incluir un ancho equivalente de losa es mayor para muros con aberturas de tres niveles (H/L=1.41), aunque la máxima diferencia en los desplazamientos máximos promedio es de sólo el 7.5% en el tercer nivel, con respecto a los muros donde no se modela la rigidez de la losa. Esta diferencia disminuye conforme los muros con aberturas tienen más niveles (o se hacen más esbeltos), reduciéndose a sólo 2.8% para los modelos de nueve niveles (H/L=4.24) y al 1.6% para los modelos de 18 niveles (H/L=8.48). También se aprecia que a medida que aumenta el número de niveles (esbeltez), las diferencias pasan de crecer con altura en los muros de tres niveles, a disminuir con la altura para los muros de nueve a 18 niveles.
  • La modelación de la rigidez de la losa considerando el ancho efectivo propuesto en las NTCM-04, aunque no tuvo un gran impacto en reducir los desplazamientos laterales promedio, resultó ser relativamente más importante en los muros más flexibles que se estudiaron (con un menor módulo de elasticidad, Em).
  • Con respecto al impacto de la excentricidad de la abertura, del análisis de los resultados obtenidos con el método del elemento finito, se concluye que a medida que los muros son más esbeltos (o tienen un mayor número de niveles), el aporte del ancho equivalente de losa considerado deja de ser importante en la magnitud de los desplazamientos laterales máximos. Sin embargo, a medida que los muros son más esbeltos, la excentricidad de la línea de aberturas comienza a ser más importante y amplifica los desplazamientos laterales promedio con respecto a los de muros simétricos. Sin embargo, dichas amplificaciones resultan menores del 10% para parámetros de excentricidad de la abertura de hasta el 40% para muros de hasta 18 niveles o relaciones globales de esbeltez H/L=8.48 para el parámetro de abertura considerado. Las amplificaciones si llegan a ser muy importantes para aberturas totalmente excéntricas (e=82%), siendo mayores al 25% a partir de relaciones globales de esbeltez H/L=4.24.
  • Con respecto al método del marco equivalente en estudio, que modela a la longitud del nudo muro-viga como zonas de rigidez infinita, se concluye que se obtienen aproximaciones razonables con respecto al método del elemento finitos para muros con aberturas cuando se considera una línea de aberturas simétricas (e=0%) o con una excentricidad de abertura de hasta el 40% (e=40%), a partir de seis niveles o una relación global de esbeltez H/L=2.82. Las aproximaciones tienden a mejorar conforme aumenta la altura (o relación de esbeltez). Sin embargo, para el caso de muros simétricos (e=0%), se comienzan a sobrestimar a partir de nueve niveles (H/L=4.24). Si la abertura es muy excéntrica (e=82%), esta versión del método del marco equivalente no es razonable, pues sobrestima notablemente la rigidez, debido a que se considera la longitud del nudo muro-viga como zona infinitamente rígida. Para esos casos, probablemente es mejor opción considerar una rigidez finita para el nudo muro-viga, conforme lo propusieron Schwaighofer y Microys (1969), pues al flexibilizar esa zona, se obtienen mejores aproximaciones cuando e>40% para un parámetro de abertura =25%, como se demostró en un estudio previo (Tena et al. 2011, modelos identificados como SM2).
  • Con respecto al método de los muros conectados por un medio continuo en cortante (identificado en este estudio como método Beck-Coull), se concluye que se obtienen buenas aproximaciones con respecto al método de elementos finitos, para muros con aberturas a partir de seis niveles (o H/L=2.82), tanto cuando se considera una línea de aberturas simétricas, como asimétricas. De hecho, las menores aproximaciones se obtienen para aberturas simétricas, y las aproximaciones mejoran conforme aumenta la esbeltez del muro y conforme la abertura es más excéntrica. Este hecho indica que la formulación propuesta en su tiempo por Coull y Choudhury (1967b) es muy sólida para este caso, si los muros tienen la relación de esbeltez adecuada.
  • Se obtuvieron aproximaciones muy pobres con ambos métodos (marco equivalente y Beck-Coull) para los modelos de tres niveles (H/L=1.41). Ésta es una observación importante en el caso de mampostería confinada, pues existen muchas de estas estructuras de tres a cinco niveles que se analizan con el método del marco equivalente que considera a la longitud del nudo muro-viga como zona de rigidez infinita.
  • Se confirma en este estudio que la aproximación de los métodos del marco equivalente y de Beck-Coull aumenta a medida que aumenta el número de niveles considerados en los muros con aberturas, y que es razonable para aberturas con una excentricidad relativa hasta del 40%. Para excentricidades mayores al 40%, la mejor opción la constituye el método de Beck-Coull.

AGRADECIMIENTOS

Angel Eduardo Liga Paredes agradece la beca otorgada por el Consejo Nacional de Ciencia y Tecnología de México (Conacyt), que le permitió involucrarse en este proyecto de investigación en el desarrollo de su tesis de maestría en el Posgrado de Ingeniería Estructural de la UAM Azcapotzalco.

REFERENCIAS

Beck, H. (1962), “Contribution to the analysis of coupled shear walls”, Journal of the American Concrete Institute, Vol. 59, No. 8, pp. 1055-1070, Title No. 59-39, agosto.

Chaallal, O., D. Gauthier y P. Malefant (1996), “Classification methodology for coupled shear walls”, ASCE Journal of Structural Engineering, Vol. 122, No. 12, pp. 1453-1458.

Chan, H. C. y Y. K. Cheung (1979), “Analysis of shear walls using higher order finite elements”, Building and Environment, Vol. 14, pp. 217-224.

Computech (1983), “COMBAT: Comprehensive building analysis tool”, Computech Engineering Services, Berkeley.

Coull, A. y J. R. Choudhury (1967a), “Stresses and deflections in coupled shear walls”, ACI Journal, Title No. 64-6, febrero.

Coull, A. y J. R. Choudhury (1967b), “Analysis of coupled shear walls”, ACI Journal, Title No. 64-51, pp. 587-593, septiembre.

Coull, A. y R. D. Puri (1967), “Analysis of coupled shear walls of variable thickness”, Building Science, Vol. 2, pp. 181-188.

Coull, A. y N. K. Subedi (1972), “Coupled shear walls with two and three bands of openings”, Building Science, Vol. 7, pp. 81-86.

CSI-2013 (2013), “CSI analysis reference manual for SAP2000, ETABS, SAFE and CSiBridge”, Computers and Structures Inc., Estados Unidos, marzo.

Goyal, B. K. y S. P. Sharma (1968), “Matrix analysis of frames with shear walls”, Building Science, Vol. 3, pp. 93-98.

Green, N. B. (1952), “Bracing walls for multistory buildings”, Journal of the American Concrete Institute, Vol. 49, No. 3, pp. 233-248, Title No. 49-18, abril.

Ha, K. H. y T. M. H. Tan (1999), “An efficient analysis of shear wall models”, Canadian Journal of Civil Engineering, Vol. 26, pp. 425-433.

Jaeger, I. G., A. A. Mufti y J. C. Mamet (1973), “The structural analysis of tall buildings having irregularly positioned shear walls”, Building Science, Vol. 8, pp. 11-22.

Kim, H.-S. y D.-G. Lee (2003), “Analysis of shear wall with openings using super elements”, Engineering Structures, Vol. 25, pp. 981-991, doi:10.1016/S0141-0296(03)00041-5.

Liga, A. E. (2017), “Estimación en el intervalo de comportamiento elástico de los desplazamientos laterales de muros con aberturas mediante métodos simplificados”, Tesis de Maestría, Posgrado en Ingeniería Estructural, División de Ciencias Básicas e Ingeniería, Universidad Autónoma Metropolitana Azcapotzalco.

MacLeod, I. A. (2014), “Lateral stiffness of shear walls with openings”, Tall Buildings, pp. 223-252.

Nollet, M. J. y B. Stafford (1993), “Behavior of curtailed wall-frame structures”, ASCE Journal of Structural Engineering, Vol. 119, No. 10, pp. 2835-2854.

NTCM-2004 (2004), “Normas Técnicas Complementarias para Diseño y Construcción de Estructuras de Mampostería”, Gaceta Oficial del Distrito Federal, octubre.

Pisanty, A. y E. E. Traum (1970), “Simplified analysis of coupled shear walls of variable cross-section”, Building Science, Vol. 5, pp. 11-20.

Rivera, G. (2006), “Determinación de la rigidez lateral en muros con aberturas”, Proyecto Terminal I, Departamento de Materiales, Universidad Autónoma Metropolitana, diciembre.

Schwaighofer, J. y H. F. Microys (1969), “Analysis of shear walls using standard computer programs,” ACI Journal, Title No 66-89, pp. 1005-1007.

Soane, A. J. M. (1966), “The analysis of interconnected shear walls”, Ph.D. Thesis, University of Edinburgh, marzo.

Tena, A. y D. P. Abrams (1989), “Modelado matemático del comportamiento sísmico de estructuras de mampostería reforzada”, Memorias, VIII Congreso Nacional de Ingeniería Sísmica y VII Congreso Nacional de Ingeniería Estructural, Acapulco, Guerrero, Vol. I, pp. B-93 a B-103, noviembre.

Tena, A. (2007), Análisis de estructuras con métodos matriciales, primera edición, Limusa, septiembre, ISBN-13: 978-968-18-6980-9.

Tena, A., G. Rivera y J. Vergara (2011), “Estimación de la rigidez lateral elástica de muros con aberturas”, Revista Internacional de Desastres Naturales, Accidentes e Infraestructura Civil, Vol. 11. No. 2, pp. 135-161.

Tena-Colunga, A. (1992a), “Response of an unreinforced masonry building during the Loma Prieta Earthquake”, PhD. Thesis, Department of Civil Engineering, University of Illinois at Urbana-Champaign, mayo.

Tena-Colunga, A. (1992b), “Seismic evaluation of unreinforced masonry structures with flexible diaphragms”, Earthquake Spectra, Vol. 8, No. 2, pp. 305-318, mayo.

Tena-Colunga, A. y G. Rivera-Hernández (2015), “Assessment of the lateral stiffness of walls with openings”, Proceedings, COMPDYN 2015, 5th ECCOMAS Thematic Conference on Computational Methods in Structural Dynamics and Earthquake Engineering, Crete Island, Greece, Paper No. 674, CD-ROM, May.

Back to Top

Document information

Published on 16/06/17
Accepted on 16/06/17
Submitted on 16/06/17

Volume 17, Issue 1, 2017
Licence: CC BY-NC-SA license

Document Score

5

Views 0
Recommendations 1

Share this document

claim authorship

Are you one of the authors of this document?